Multinational Ford Aims to Keep Gasoline and Diesel Engines, But Fueling Them with Hydrogen—Understand How This Could Work.
While we are accustomed to fuel cell-based mechanics that use hydrogen to generate electricity, there are other projects like these that bet on a very different approach. The first ones are, after all, electric cars. After Cummins recently announced an engine that promises to be powered by any type of fuel, this time multinational Ford aims to lead the race for zero-emission engines. This is shown by the patent the blue oval brand registered at the U.S. Patent and Trademark Office last week (18).
Ford Is Another Manufacturer Betting—Or Supposedly Will Bet—On Hydrogen-Powered Combustion Engine
The American company announced last week (18) that it is dividing its business into two somewhat independent categories. While the Model E is responsible for electric cars, the Blue division is responsible for thermal vehicles.
And it is this second division that has an interesting project related to the patent we are interested in this article, which is based on a thermal engine powered by hydrogen. This would, of course, allow current engines to continue to be developed, but with the aim of being powered by hydrogen instead of gasoline and diesel.
-
Engineers propose a fourth traffic light for intersections – the change promises to affect crossings, queues, and waiting times.
-
Chevrolet Suburban Z71 lands in Brazil with a V8 engine, off-road design, air suspension, seven seats, and colossal size, a rare version imported for around R$ 1.3 million with luxury and exclusivity.
-
The Chevrolet Onix 1.0 turbo achieves 17.7 km per liter on the highway and ranks among the three most economical cars in Brazil in 2026, alongside two more expensive Toyota hybrids available at dealerships.
-
Little sister of the Hilux: Toyota launches Land Cruiser FJ with 4 radical versions, 2.7 engine with 166 hp and 4×4 traction with locking.
Multinational Ford Wants to Keep Gasoline and Diesel Engines, But Fueling Them with Hydrogen

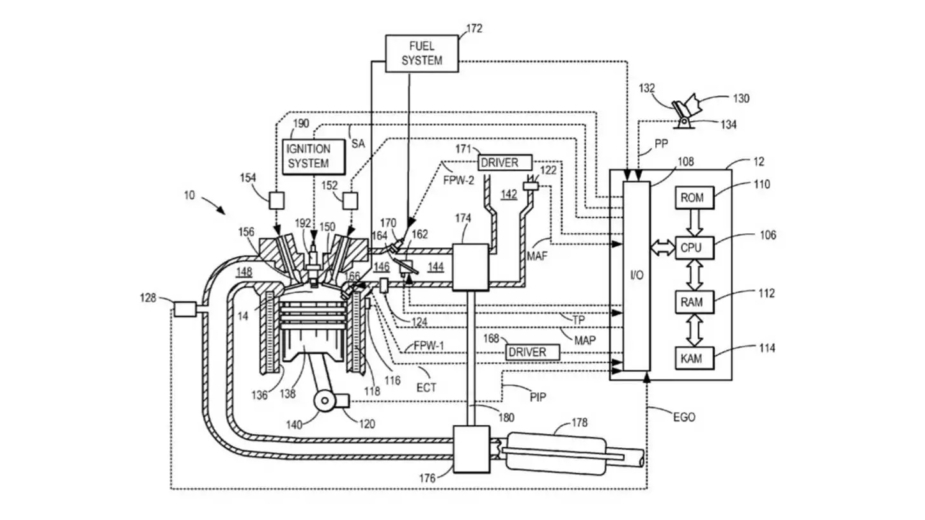
Ford has registered a patent for a combustion engine that operates with hydrogen at the U.S. Patent and Trademark Office. In other words, it is not like typical hydrogen vehicles, which convert this fuel into electrical energy to store it in a lithium-ion battery and thus power one or more electric motors.
Instead, this engine is similar to a gasoline or diesel engine, but with the major difference of using hydrogen as fuel. In the patent for this engine, presented by Ford, the behavior of the engine to correctly control the air-fuel ratio in any situation is already anticipated.
Additionally, it is also contemplated that it has a valve distribution system and exhaust gas recirculation – an EGR valve. This patent describes that it can achieve lambda values above 2.0, while a gasoline engine can vary between approximately 0.54 and 1.25. It is capable of mixing up to 68 parts of air to 1 part of hydrogen.
Direct Injection System to Supply Hydrogen to the Cylinders
This patent also includes a direct injection system to supply hydrogen to the cylinders. And as described, this injection system would have up to 15% more power than an equivalent injection system in a gasoline engine.
And it is curious because beyond Ford also planned for it to be associated with a hybrid system with a generator motor placed between the engine itself and the transmission system. And although a patent regarding the mechanics has been registered, in which, by the way, all details about its operation are not revealed, it must be taken into account that, at this moment, it is not known if it will go into production.
Car brands often file dozens of patents, and the truth is that not all technologies they develop end up in final products. However, it would be interesting if, alongside electric systems, there was also a focus on hydrogen engines. Still, it is an engine, and the consumption of lubricating oil, even in small amounts, generates low levels of CO2. It is still unknown which car it will debut in, however, one of the candidates is the upcoming Mustang. With four cylinders and turbo, Ford’s hydrogen engine will greatly help the brand have an option to electric for some time.

Seja o primeiro a reagir!