Stellantis Unveils Prototype Car Without Brake and Accelerator That Promises to Transform the Steering of Autonomous Cars and Increase Accessibility for Drivers with Disabilities.
Imagine a car without an accelerator and brake pedal. It sounds like something out of a futuristic movie, but Stellantis is working precisely on that! The company is developing a new steering wheel prototype that resembles an airplane joystick, capable of completely replacing traditional brake and accelerator pedals. This not only makes it easier to steer autonomous cars but also offers a new solution for people with disabilities (PwD). Want to know more about this car without brake and accelerator? Then keep reading as we provide the details of the technology that could bring an end to traditional accelerator and brake.
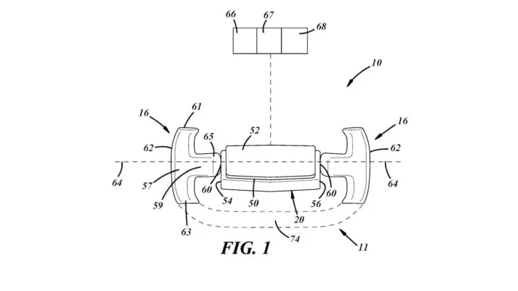
Stellantis and the Car Without Accelerator
The images of this prototype were recorded at the patent office in the USA and recently revealed by the website CarBuzz. The mechanics are ingeniously simple and straightforward: to accelerate, the driver pushes the steering wheel toward the dashboard; to brake, pulls it back.

This design not only facilitates steering, allowing control with just one hand, but also offers flexibility to adapt the steering wheel to different styles, ensuring the ergonomics of a joystick (control lever used in aircraft).
-
With a 1.6-liter 118 hp engine, a 460-liter trunk, and a 7-inch multimedia system, the Nissan V-Drive 2026 is sold in Mexico starting at 339,900 Mexican pesos and relies on low maintenance costs to win over app drivers, fleet owners, and self-employed professionals.
-
Costing R$ 57,676 and with a range of up to 815 km, the Volkswagen up! TSI 2018 gets 16.3 km/l on the highway and can be financed with estimated installments of R$ 1,314.
-
Now NASA is coming: Uno Mille with parts from 17 cars, neon, spoiler, and a ladder on the roof is transformed into a Brazilian version of Brian’s car in Fast & Furious
-
5 spacious and valued used sedans starting at R$ 45,000 offer up to 536 liters of trunk space, fuel consumption of 15.6 km/l, automatic or CVT transmission, and engines up to 144 hp
Stellantis is focused on making driving more accessible and efficient. The technology used in the prototype is steer-by-wire, which creates a virtual connection between the steering wheel and the wheels, eliminating the need for a traditional steering column. This technology is perfect for autonomous cars and for the new function of acceleration and braking through the steering wheel.
Challenges of New Technology
However, there is a concern: during braking, inertia may cause the driver to inadvertently push the steering wheel against the dashboard, resulting in unwanted acceleration. A possible solution could involve incorporating autonomous systems into the vehicle that would automatically neutralize acceleration or initiate braking.
Alternatively, the functions of the steering wheel could be reversed, so that pushing would result in braking and pulling in acceleration, aligning control actions with natural physical forces to facilitate more intuitive driving.
Other Automakers Innovate with Car Without Accelerator and Brake
Stellantis is not alone in this innovation. Other automakers are also exploring similar concepts. Tesla, for example, has already installed a similar steering wheel in the Cybertruck, designed to be easily retracted in the future of autonomous cars.
The Toyota presented the NEO Steer, a system that functions like a lever to accelerate and brake the car, also aiming for accessibility for PwD drivers. Mazda has a similar project.
Impacts and Benefits for People with Disabilities
The adaptability of this new steering wheel is a significant advance for accessibility. Drivers with disabilities will find more ease and comfort while driving, without the need for traditional brake and accelerator pedals. This inclusive design could transform the driving experience for many, providing greater autonomy and safety.
The development of this prototype by Stellantis is an important step towards the future of autonomous cars. The elimination of brake and accelerator pedals is an adaptation that aligns perfectly with the vision of fully autonomous vehicles. With the integration of advanced steering and control systems, the safety and efficiency of vehicles can be significantly improved.
The End of Traditional Accelerator and Brake?
The revolution that Stellantis is proposing with the car without brake and accelerator is an innovation that promises to change the way we drive. The introduction of a steering wheel that combines acceleration and braking functions not only eases steering in autonomous cars but also offers an inclusive solution for drivers with disabilities.
This innovative approach, combined with advanced technologies like steer-by-wire, could redefine safety and accessibility standards in the automotive industry. As more automakers explore these concepts, we are moving closer to a future where driving will be safer, more efficient, and accessible for everyone.
Stellantis, with its vision of eliminating traditional brake and accelerator, is at the forefront of this transformation. The joystick-shaped steering wheel is a bold step towards a new mobility paradigm, where technology and innovation come together to create a more inclusive and advanced world.
If you’re curious to see what the future of cars will be like, keep an eye on Stellantis and its innovations. The end of traditional accelerator and brake may be closer than we think, bringing with it a new era of autonomous and accessible vehicles. The revolution in driving has already begun, and Stellantis is leading the way with its car without accelerator and brake.

-
1 person reacted to this.